
阀门知识
阀门首页 > 阀门知识 >
电动阀门为什么要有切换手柄呢?电动阀门设置切换手柄的主要目的是实现电动驱动与手动操作的切换。电动阀门装置由多个部分组成,其中包括电动机、减速器、控制机构、手-电动切换机构、手轮部件及电气部分。手-电动切换装置为半自动切换,电动转变为手动操作需板动切换手柄,而由手动转变为电动是自动进行的(需板动切换手柄)。这种设计允许阀门既具备电动驱动阀门工作的功能,又具备在某种情况下用人工操作阀门工作的功能。

具体来说,电动阀门通过电源信号对阀门进行控制,但在电源意外断?;虻缍葱谢棺陨沓鱿止收鲜?,通过加装的手轮机构可以对阀门进行控制。手轮充当着备用启动的角色,选择手轮作为备用执行机构,既经济又简便,不会对整台阀门造成任何不良影响,对阀门的安装空间也未大幅加大,非常合适。此外,在电动执行机构进行维护时,手轮可以保证阀门继续使用,保障处理故障与维护顺利进行。因此,设置切换手柄的目的是为了在需要时能够实现从电动驱动到手动操作的平滑转换,以确保阀门的可靠性和安全性。

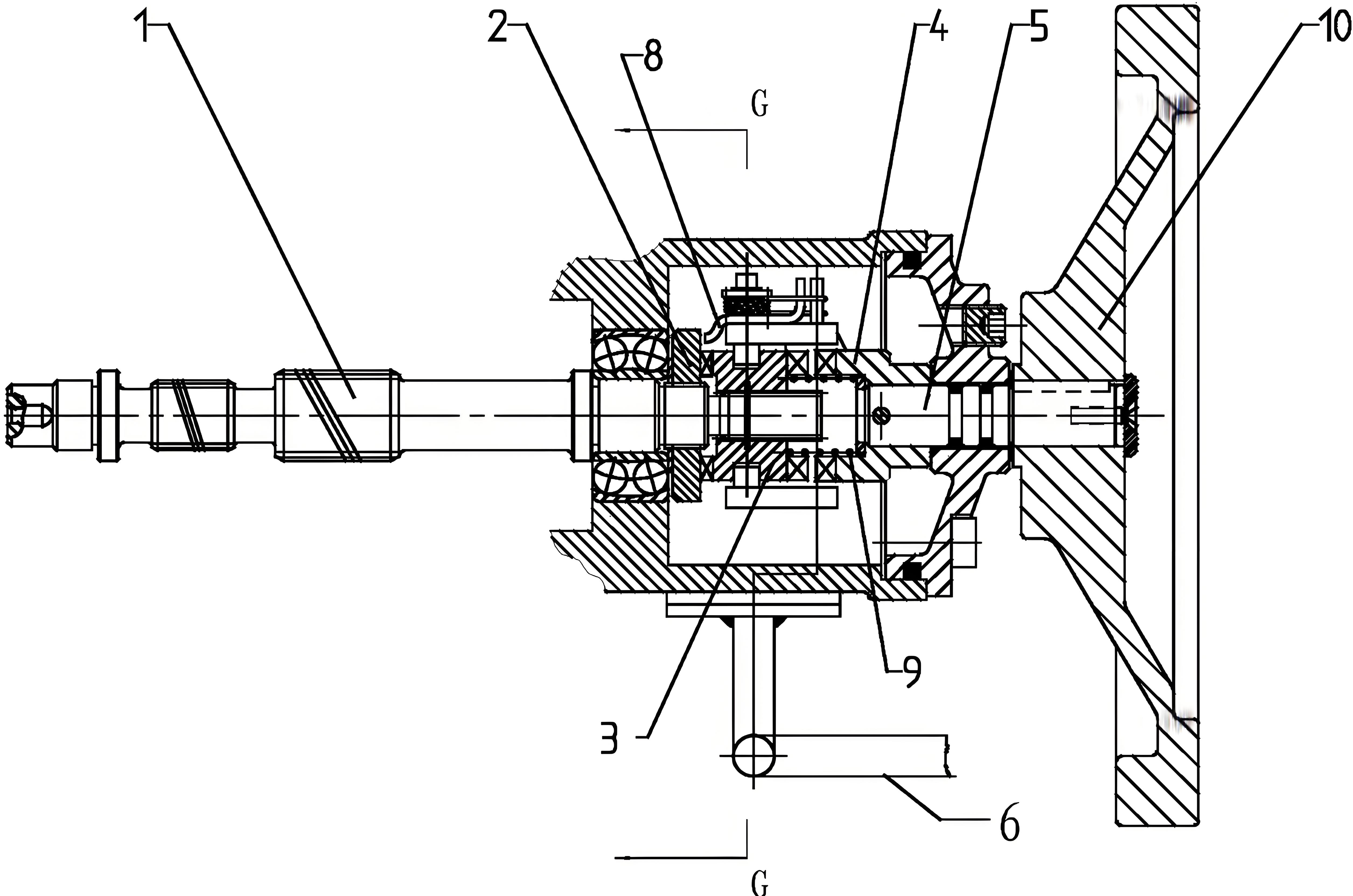
切换手柄相当于离合器,当阀门需要手动操作时,按下切换手柄,手轮即与执行器内部传动机构连接,这时转动手轮就可实现阀门的开关了。当电动操作时,执行器中的电机一启动,切换手柄自动弹开,手轮与执行器内部传动机构脱开,这时就是电机驱动执行器了,而手轮就不动了,这样可避免在手动操作时电机突然误动作而伤人。为半主动切换,手动时需扳动手柄切换,手动状况转变为电动时则主动运转。其结构见图。它由手柄、切换件、直立杆、离合器、压簧等组成。需手轮操作时,将手柄向手动方向推进,切换件使离合器举高,并压榨压簧。当手柄推到必定方位时,离合器即脱离蜗轮而与手轮啮合,一起直立杆在扭簧效果下直立于蜗轮端面,支撑住离合器不致下落,切换完结即可放开手柄,运用手轮进行操作。而需电动操作时,电动机将带动蜗轮滚动,支承于蜗轮端面的直立杆即倒下,在压簧效果下离合器敏捷向蜗轮方向移动,并与蜗轮啮合,一起与手轮脱开,主动完成手动到电动状况的变换。

一、手动切换
当电动阀门出现故障或停电时,需要切换至手动模式来手动控制阀门的开启和关闭。切换至手动模式的方法如下:
1、找到手动操作柄,一般位于电动操作柄的底部或侧面。
2、将手动操作柄插入电动阀门的手摇孔中。
3、 通过手动操作柄来旋转阀门的开度,手动操作时需要注意力度,不可过大或过小。
需要注意的是,在手动模式下,阀门将不能被电动操作或远程控制。故障修复后,需要重新切换至电动模式。
二、自动切换
为了更方便地在电动和手动模式之间进行切换,阀门的设计中通常会预留一个自动切换功能。当阀门的电源故障或掉电时,自动切换功能会自动切换至手动模式。
需要注意的是,自动切换功能需要进行正确设置才能正常工作。具体设置方法需参考阀门使用说明书进行操作。在使用自动切换功能时,需确认手动操作柄已将手摇孔卡紧,以免在阀门操作时造成手动操作柄的意外脱落。
总之,手动与电动阀门之间的切换需要进行正确操作,避免不必要的损失和伤害。在日常使用中,对于电动阀门的控制和维护要保持周到,以确保阀门的正常运行。
上一篇:手机app智能??胤?无线app手机控制电动阀门 / 下一篇:电动阀门如何接线谁能告诉下我